罐旁顯示儀
價 格:詢價
產 地:河北更新時間:2025-02-14 10:47
品 牌:其他型 號:
狀 態:正常點擊量:2270
400-006-7520
聯系我時,請說明是在上海非利加實業有限公司上看到的,謝謝!
聯 系 人:
上海非利加實業有限公司
電 話:
400-006-7520
傳 真:
400-006-7520
配送方式:
上海自提或三方快遞
聯系我時請說在上海非利加實業有限公司上看到的,謝謝!
產品介紹
GKYWG-60XⅠ罐旁顯示儀又叫通用現場遠傳變送器顯示儀,是由河北光科測控設備研制開發出的防爆顯示儀表。通過微處理器為核心高集成度電路,準確的計算出現場液位、溫度、壓力等標準信號的數值并顯示出來,可安裝在現場或者控制室任何區域,方便安裝在現場裝置區高溫、有毒、易燃的工業現場環境,主要用于石油化工、電力、醫藥、消防等行業。
產品特點:
防爆殼體設計可以用于各種工業現場(已經通過******防爆認證)
安全等 為SIL3、可以用在各種環境
不需要外加電源,接線方便直接串入4-20mA回路即可實現***測量
液晶顯示帶綠色背光燈方便在晚上觀看數據
實用范圍:磁致伸縮液位計、雷達液位計、 體化溫度變送器、壓力變送器、氣體報警器等模擬 量標準信號的儀表
產品參數:
精度:0.1%
線制:兩線制
顯示方式:液晶顯示四位半顯示
報警功能:可以設置兩個報警點,低于下限或高于上限報警,閃爍顯示
修正功能:顯示量程及小數點修正功能
環境溫度:-40℃ -80℃
防護等 :IP68
防爆標志 : ExdII+H2 T6GB ExdIICT6
過程連接:G1/2 或標準支架
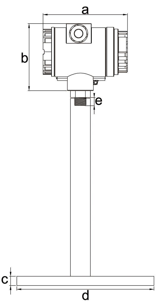
外形安裝尺寸
|
GKYWG-60XⅠ
罐旁顯示儀
正方尺寸
(圖 )
|

|
a=m20×1.5
b=77mm
c=470mm
d=200mm
e=G1/2
|
|
GKYWG-60XⅠ
罐旁顯示儀
側方尺寸
(圖二)
|

|
a=100mm
b=125mm
c=5mm
d=200mm
e=G1/2
|
安裝示意圖
配置表
|
序號
|
名稱
|
規格型號
|
數量
|
單位
|
提供方
|
|
1
|
罐旁顯示儀
|
GKYWG-60XⅠ
|
1
|
臺
|
河北光科
|
|
2
|
罐旁顯示儀支架
|
GKYWG-60XⅠ
|
1
|
臺
|
選配
|
|
3
|
液位儀
|
ZKYWG
|
1
|
臺
|
選配
|
接線示意圖
1、箭頭1接線4-20mA,進線。
2、箭頭2接線4-20mA,出線。
罐旁顯示儀選型表
|
GKYWG-60XⅠ罐旁顯示儀
|
|
|
代碼
|
支架
|
|
A
|
帶支架
|
|
B
|
不帶支架
|
|
|
代碼
|
測量參數
|
|
A
|
液位
|
|
B
|
溫度
|
|
C
|
壓力
|
|
D
|
其它
|
|
|
銷售區域
|
|
|
A
|
內銷
|
|
|
B
|
外銷
|
|
|
|
代碼
|
經辦人可不填
|
|
Xxx
|
姓名縮寫
|
|
GKYWG-60XⅠ
|
A
|
A
|
A
|
ZL
|
|
實例:GKYWG-60XⅠ罐旁顯示儀,A代表,A代表帶支架,A代表液位, A代表內銷ZL代表銷售人員為張亮。